7X24小时电话 周一至周六 9:00-18:00
028-85325178
电话:028-85325178
公司地址:成都市高新区天府大道北段1480号德商国际B座801号
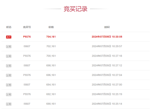
一里阳光 3室1厅2卫【捡漏12W】
一里阳光 3室1厅2卫【捡漏12W】
一里阳光 3室1厅2卫【捡漏12W】
一里阳光 3室1厅2卫【捡漏12W】
一里阳光 3室1厅2卫【捡漏12W】
一里阳光 3室1厅2卫【捡漏12W】
一里阳光 3室1厅2卫【捡漏12W】

一里阳光 3室1厅2卫【捡漏12W】

服务预约
Service Appointments
加入正兴
Join Zhengxing